風筒
來源: | 責任編輯:admin | 發布時間: 2018-05-22

產品說明
一、概況、結構
本產品是以玻璃纖維布、化纖布及混織布為骨架材料與PVC樹脂為原料通過阻燃劑、靜電劑配方設計,經熱壓而成的涂覆布,各項指標均達到部頒標準。
二、用途
用于生產各種規格的煤礦用正、負風筒、防塵隔爆水袋、蓬布及自救器罩等產品的理想坯布材料。
三、各項技術要求
1、涂覆布的厚度不大于0.80mm。
2、涂覆布的物理機械性能如表所示:

3、涂覆布的耐熱性能:在80±2℃中放置24H后,表面無裂紋和發黏等異?,F象。
4、涂覆布的耐寒性能:在—25±3℃中放置4H后,表面無折損和裂痕現象。
5、涂覆布的安全性能 ( 如表所示 )

四、品質規格
主要品種有阻燃抗靜電PVC涂覆布等,顏色有桔黃、草綠、棕色、黑色等。幅寬90cm、130cm,每卷長度100m,還可根據需方要求的規格、顏色進行生產制造。
五、儲運及注意事項
1、塑料涂覆布在儲存中應保持清潔,通風良好的庫房內.禁止與油類,酸堿或其它有損于塑料品質的物資接觸,避免陽光直射并距熱源1m之外、貯存溫度保持在-15—+35℃,相對濕度保持在不大于80% ,堆放高度不超過1.5m .
2、涂覆布在搬運中,謹防機械撞擊、摩擦而引起的損壞,避免日曬雨淋,以防老化。
3、本產品自出廠之日起,在不超過15個月儲存期內,其物理機械性能和安全性能,符合以上標準。
風筒系列
★正壓風筒
一、用途:用于煤礦、隧道、井下局部扇風機進行正壓通風二、風筒結構及規格尺寸

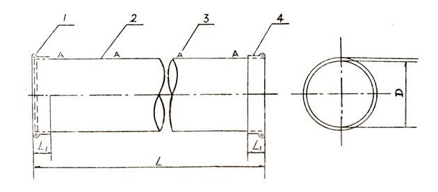
1-端圈 2-吊環安裝線 3-吊環 4-反向

注:1、風筒尺寸或特殊形狀規格的異徑風筒、彎頭、三通及過度節等可根據需方要求生產制造。
2、風筒吊環、端圈等金屬配件的規格如有特殊要求由共需雙方商定。
3、風筒兩端加反邊其長度L,為150-200mm.
三、風筒通風性能 直徑600mm的風筒百米風阻值小于54N·s2/M8,百米漏風率小于1%。
四、風筒耐負壓性能 風筒進行耐負壓試驗時,其值應符合下表:

五 、風筒直徑收縮率大于1%
六、標志 包裝 儲運
1、在距風筒端圈300—400mm處噴涂安半局頒發的《安全標志》圖案。
2、風筒用編織袋、麻袋等物包裝。
3、風筒在儲藏中應保持清潔、禁止與油料、酸堿或其他有損于橡膠質量的物資接觸,避免陽光直射并距熱源1m、室內溫度保持在—15+35℃,相對濕度保持在50%—80%。
4、風筒在搬運中謹防機械撞擊,摩擦而引起的損傷,避日曬雨淋。
5、本產品自出廠之日起,在不超過一年的儲存期內其物理機械性能和安全性能符合MT164—87規定標準
★負壓風筒
一、用途:用于煤礦、隧道、井下局部扇風機進行負壓通風
二、 風筒結構及規格尺寸
1、風筒結構發圖:

2、風筒節與節之間連接采用快速接頭軟帶,結構如圖:
